应变传感器用于哪些应用?
应变传感器是力传感器的巧妙替代品,适用于10,000 N以上的大力,并用于各种应用。[敏感词]举几个例子。其他应用示例可在应变传感器的产品网站上找到。
工业应用中的应变测量:
夹持力调节
用所需的力固定板材,以确保它可以以[敏感词]速度移动,而不会在其上形成纸张滑动或印记。
过程控制
在弯曲过程中,在整个过程中控制力,并用于改进或维护过程
连接过程中的力监控
在连接过程中进行连续的力监控,确保创建的连接能够满足高稳定性和耐用性要求。
恶劣户外应用中的应变测量:
工程车辆重量测量
工程车辆的重量是借助应变传感器确定的。例如,检查自卸卡车的装载并避免超载。
减 振
应变传感器可用于建筑机械,例如,用于抑制车载混凝土泵放置动臂上的振动。
风力涡轮机的负载监控
通过在风力涡轮机上使用应变传感器,可以可靠地监测塔架或转子叶片上的负载。因此,可以检测到过载并防止对涡轮机的损坏。根据实际载荷延长计算的使用寿命。
应变传感器的选择标准是什么?
要为您的应用找到合适的应变传感器,您必须考虑许多标准。应变传感器的选择从应用环境开始。有用于恶劣户外应用或室内工业应用的应变传感器。然后,根据要监测的结构的设计特性确定是否可以使用旋入式应变传感器,或者是否[敏感词]通过钻孔测量应变。同样,必须考虑可用空间;Fortico还为密闭空间条件提供解决方案。
应变传感器的测量范围应根据预期位置的预期应变进行选择。如果尚未指定预期的应变,[敏感词]选择具有更大测量范围的应变传感器进行初步试验。
由于大多数应变传感器已经集成了放大器电子元件,因此通常可以选择标准信号,例如+/- 10 V,4..20 mA,CANopen。对于没有放大器电子元件的无源传感器,有单独的放大器或以mV/V为单位的未放大输出信号可用,应变传感器耐疲劳,非常适合周期性应用。毫秒范围内的短循环时间易于监控。具有合适测量机制的应变传感器也可以很好地用于静态应用。应该注意的是,不是由应力引起的,而是由温度变化等外部因素引起的应变可能会使输出信号失真。但是,有一些聪明的措施可以弥补这些影响。
应变传感器的位置在哪里?
旋入式应变传感器易于安装,可以检测结构上由施加力引起的微米范围内的非常小的应变。为了找到应变传感器的[敏感词]定位位置并获得[敏感词]结果,需要观察一些点。
应变传感器应放置在由于在结构上施加力而在所需方向上可以测量应变的位置。这些主要是由弯曲以及拉/压应力产生的应变或机械张力。有限元法可用于确定多轴应变情况下的预期表面应变和方向,从而确定预期位置所需的测量范围。如果此选项不可行,简单的方法是使用具有更大测量范围(例如 750 或 1000 μm/m)的应变传感器进行试验,从而确定所选点实际发生的应变。与已知力的比较导致与要监测的结构上的相应应变的简单相关性。当然,应变传感器所涉及的结构设计、可接近性或保护等因素在应变传感器的定位中也起着重要作用。
哪些点有利于定位?
弯曲应变:
当应变传感器定位时,由弯曲引起的表面应变很容易确定,因此是有利的。下图提供了一些可以预期[敏感词]可测量应变用于弯曲的点的示例。
拉应力或压应力应变:
通常,被监控的机器表现出弯曲、拉/压应力、扭转等组合应变。这些可以通过有限元计算轻松确定。然而,在实际应用中,显而易见的是,简单的机械考虑就足以确定结构上发生应变的合适点并且是可测量的。[敏感词]的应变可以通过与测量应变的已知应力进行比较来确定。当然,也可以先将应变片粘在感兴趣的位置上,以便于应变传感器的适当定位。
通常,被监控的机器表现出弯曲、拉/压应力、扭转等组合应变。这些可以通过有限元计算轻松确定。然而,在实际应用中,显而易见的是,简单的机械考虑就足以确定结构上发生应变的合适点并且是可测量的。[敏感词]的应变可以通过与测量应变的已知应力进行比较来确定。当然,也可以先将应变片粘在感兴趣的位置上,以便于应变传感器的适当定位。
刚性有限的应变传感器有哪些优点?
Fortico的应变传感[敏感词]多具有有限刚性的机械装置。这意味着只需要很小的力即可将传感器拉伸或压缩到其标称应变。因此,应变传感器对要监测的结构的影响有限。此外,安装螺钉仅以有限的方式受力,从而增强了稳定的信号质量,而不会使螺钉移动。如果应变传感器无法循环测量,这可能是必不可少的。
这使得Fortico应变传感器适用于静态和周期性应用。
应变传感器是如何安装的?
为了获得[敏感词]测量结果,应变传感器使用随附的紧固螺钉拧紧到组件上。应变传感器通过摩擦连接检测微米范围内的应变。可以使用盲孔或间隙孔。另请参阅有关紧固选项的部分。通过拧紧质量始终如一的耐用应变传感器,无需精心应用胶合应变片。
安装应变传感器时应考虑什么?
为了使应变传感器[敏感词]检测表面应变并提供良好的测量结果,在安装过程中必须遵守各种外部条件,也可以在每个应变传感器的操作说明中找到这些条件。安装表面在这方面起着重要作用。基础结构的应变通过摩擦连接传递到应变传感器。
有哪些紧固选项可供选择?
选项1:
应变传感器可以连接到要监控的结构上,用间隙孔中的紧固螺钉进行监测。
选项2:
在较薄的结构中,应变传感器可以使用螺母固定在通孔中。
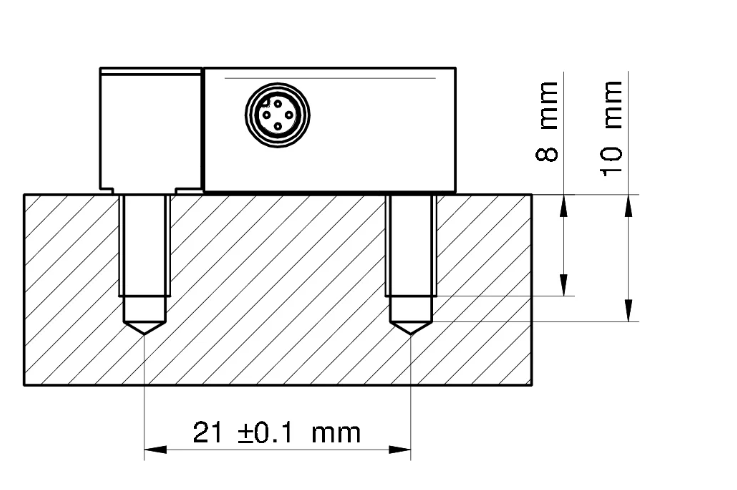
安装表面必须如何准备?
重要提示:如果测量表面脏污或安装错误,传感器的测量结果不[敏感词]:
防止油脂和油污染
将传感器安装在准备好的水平表面上
观察表面粗糙度
检查表面粗糙度
出≤ 6.3 μm
检查平面度公差
平面度公差 ≤ 0,1 mm
确保钻孔垂直钻到传感器的接触面
相应的安装螺钉、孔距和直径列在相应的操作说明中。
选项:
如果难以以所需质量准备安装表面,可以使用球垫片来平衡某些不均匀度或角孔偏差。
市场上还有金刚石涂层摩擦垫片,可平衡光不均匀度并增加摩擦力。
应变传感器应该如何处理?
应变传感器是精密测量传感器,其中包含在工厂测量的机构。如果在未包装时掉落传感器,则可能会损坏传感器。
请遵守操作说明书中有关储存和运输的说明。
应变传感器是如何拧紧到位的?
确保机器元件没有应力
用手拧紧紧固螺钉
使用扭矩扳手拧紧带有六角套筒的紧固螺钉
适用的拧紧扭矩可在相应的操作说明中找到。
如果由于热膨胀而产生应变,应观察什么?
应变传感器旨在测量由于机械力的影响而产生的应变,并且不受热膨胀的影响。当受到热量的影响时,身体会向各个方向膨胀。应变传感器内部应变片的适当电路可补偿均匀的热膨胀。应变传感器针对钢的热膨胀进行补偿。确保所选点的热分布尽可能均匀。这巧妙地补偿了温度影响。
热膨胀:
E-ZCHN-7228_1440x450.jpg
样品热膨胀系数 α:
铬镍钢 CrNi 80 20 α = 15.5 x 10-6 [K-1]
铬钢 13 铬 α = 11 x 10-6 [K-1]
纯铝 α = 23.8 x 10-6 [K-1]
示例:
1.使用铬镍钢棒 CrNi 80 20 膨胀,从 20°C 膨胀到 70°C,长度 lo 为 1 m.∆l = lo x α x ∆T = 1000 mm x 15.5
x 10-6[K-1] x 50 K = 0.775 mm
这相当于 775 μm/m
2。用铝棒膨胀,从 20°C 到 70°C,长度 lo 为 1 m。
∆l = lo x α x ∆T = 1000 mm x 23.8 x 10-6[K-1] x 50 K = 1.19 mm
这相当于 1190 μm/m
因此,如果要使用补偿钢的应变传感器来监控铝结构,则应补偿热膨胀,以便仅具有机械效应引起的应变。但是,如果可以在每个机械应力循环后进行测量,则可以忽略热膨胀的影响。
温度补偿的其他可能性:
应变传感器的90°放置,以补偿热效应或通过对组件的温度测量。
如何校准系统中的力?
特定应变的产生力可以通过数学计算,也可以简单地与特定力进行比较。为此,将应变传感器拧到无应力结构上,然后进行测量。然后,结构承受已知的载荷或定义的力。这提供了应变和由此产生的力之间的联系。每个系统只能执行一次此校准。堡盟应变传感器在制造过程中已经根据应变进行了调整,因此在更换时输出相同的测量值。
如何使用应变传感器实现稳定的测量?
根据操作说明将应变传感器拧到位,并在电源打开的情况下使其升温。(传感器未拧紧并放在桌子上的测量不会产生稳定的测量结果)。通过将要监测的结构暴露在[敏感词]应力下 10 次,可以[敏感词]限度地减少初始沉降。当结构无应力时,应将传感器测量到放大器。这样,可以补偿由于安装引起的信号变化。
何时应测量应变传感器?
拧紧后测量:
应变传感器安装在放大器上后应进行测量。这样,可以补偿由于安装引起的信号变化。
运行期间的测量:
在循环过程中,建议在每个循环后在机器处于无应力状态时测量应变传感器。这可以补偿温度影响或安装螺钉之间的任何轻微移动。堡盟应变传感[敏感词]多采用软测量机制,无需周期性测量即可实现稳定的静态测量。
应变传感器的测量链由什么组成?
带集成放大器电子元件的应变传感器:
带独立放大器电子元件的应变传感器:
直接连接到带集成放大器的控制装置的无源应变传感器:
重要提示:连接电缆或接线电缆必须至少具有与应变传感器相同的防护等级。例如,用于 的 IP55K 防护等级为 IP69K